


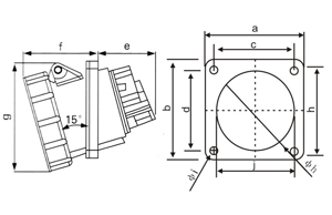
63Amp | 125Amp | |||||
Poles | 3 | 4 | 5 | 3 | 4 | 5 |
a | 100 | 100 | 100 | 120 | 120 | 120 |
b | 112 | 112 | 112 | 130 | 130 | 130 |
c | 80 | 80 | 80 | 100 | 100 | 100 |
d | 88 | 88 | 88 | 108 | 108 | 108 |
e | 64 | 64 | 64 | 92 | 92 | 92 |
f | 80 | 80 | 80 | 77 | 77 | 77 |
g | 119 | 119 | 119 | 128 | 128 | 128 |
h | 92 | 92 | 92 | 102 | 102 | 102 |
i | 7 | 7 | 7 | 8 | 8 | 8 |
j | 82 | 82 | 82 | 92 | 92 | 92 |
Wire flexible [mm2] | 6-16 | 16-50 | ||||
創新探索,開創未來
